说明:要给配送员分配需要配送的网点,需要配送员进行如下操作:
(1)配送员必须先访问下订奶小程序;
(2)配送员在订奶小程序的“个人中心”记录下自己的会员账户号,会员账户号为纯数字,如下:


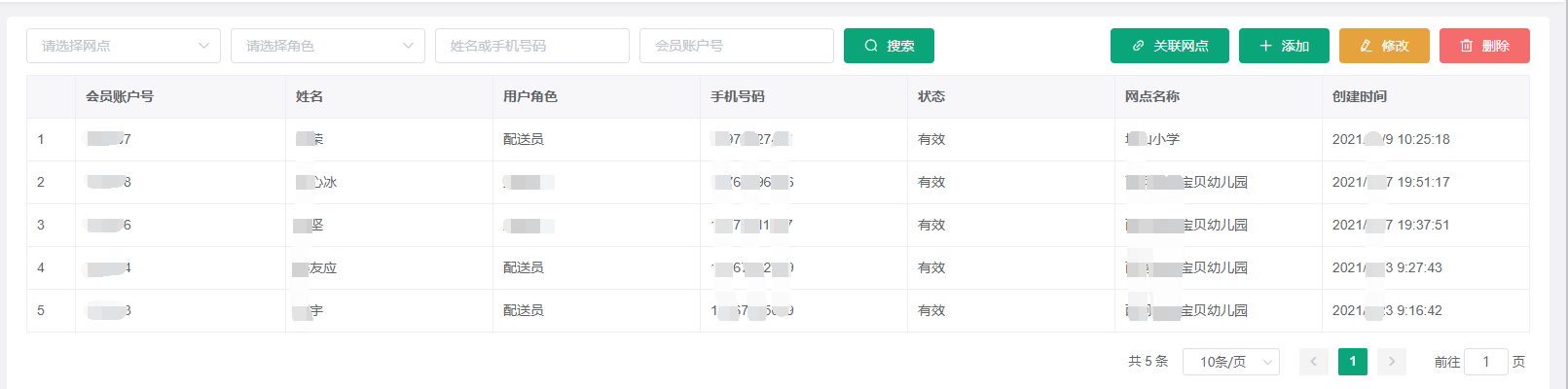
1、点击菜单“运营管理”—“网点角色”,进入“网点角色”界面,如下:


2、录入配送员用户信息
点击
,进入添加配送员信息界面,如下图:

选择一个网点,在会员账户号里输入该配送员的会员账户号,输入配送员的姓名,用户角色里选择配送员,点击“确定”按钮。
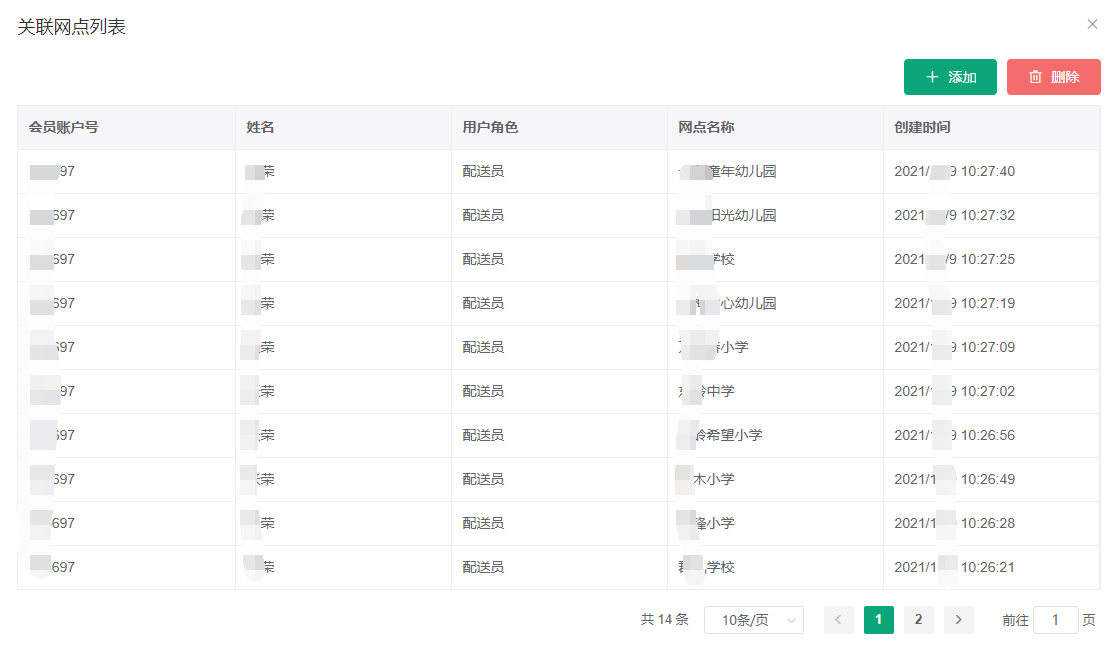
3、给配送员分配要配送的网点
选择该配送员,点击
,进入该配送员当前所分配的需要配送的网点列表界面,如下图:

点击
