说明:
只有进行了牛奶配送确认,系统才会认为当天的牛奶已经领取。所以,配送员在配送牛奶到了网点后,一定要进行配送确认。
可以通过以下两种方式进行配送确认。
1、配送员进行配送确认
配送员进入订奶小程序,在“个人中心”里可以看到有“牛奶配送”菜单,点击后,可以看到该配送员所需要配送的网点的今日配送情况,如下图:

配送员在需要配送确认的网点,点击
即可。
2、后台系统进行配送确认
如果配送员忘记了对某个网点进行配送确认,可以由后台管理人员进行配送确认。
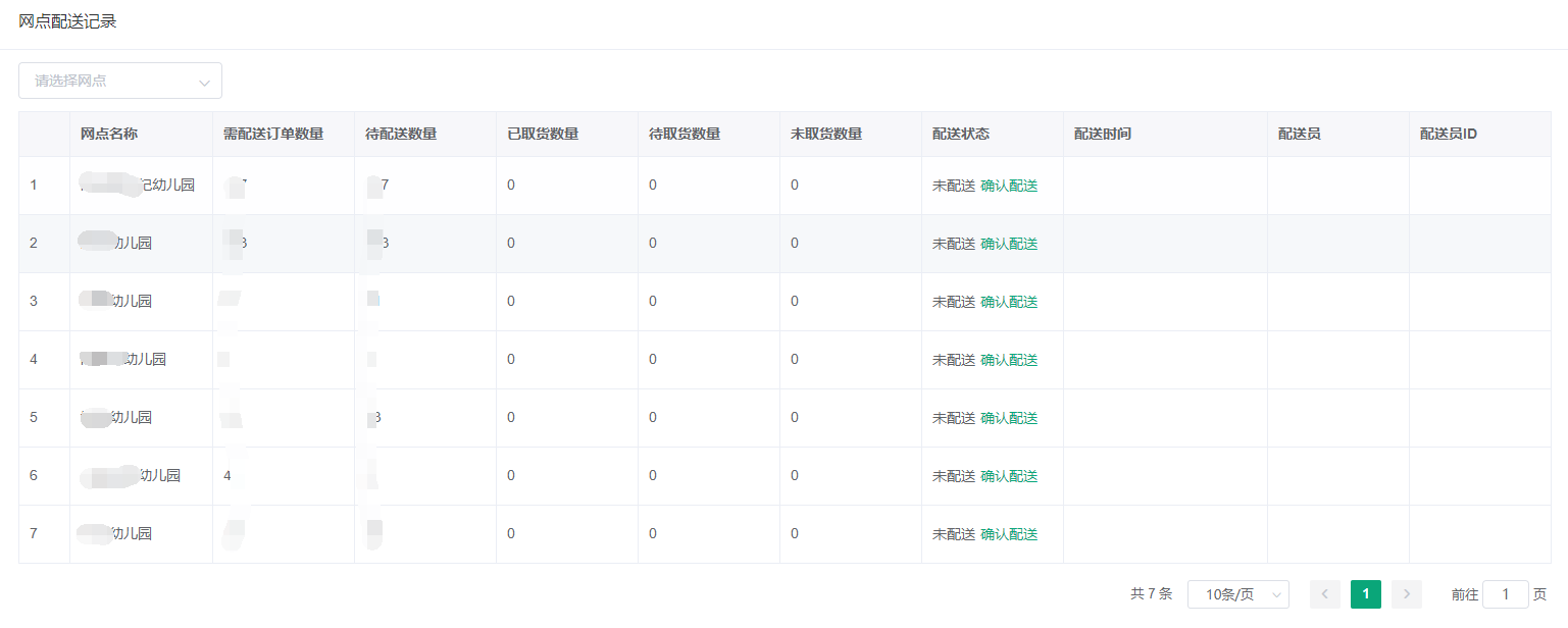
点击菜单“配送管理”—“今日配送”,进入“今日配送”界面,如下:

对于还没有进行配送确认的网点,在网点的配送状态中会显示“未配送”,同时,会显示
,点击
即可对该网点进行配送确认。